文 / 一灯
北京时间12月15日晚,MRO产业互联网平台震坤行正式登陆美国纽约交易所,成为国内MRO第一股。
此番上市,震坤行发行400万ADS(美国托存股票),发行价为每股ADS15.50美元。“绿鞋”前,震坤行通过本次IPO募集共计6200万美元,承销商德意志银行、华兴资本与中金公司另外共有60万股ADS超额配售权。
截至上市当日收盘,震坤行股价较发行价上涨3.23%,报16美元每股,总市值达到24.9亿美元。这也意味着震坤行成为近两年赴美IPO规模最大的中概股。
震坤行工业超市2014年成立于上海,是一家数字化的工业用品服务平台,主要经营辅料、易耗品、通用设备、备品备件等工业用品,为客户提供一站式的工业用品采购与管理服务,以实现工业用品供应链的透明与降本增效。
震坤行于纽交所成功上市,不仅象征着国内公司赴美IPO窗口的继续放开,也将潜在水下多年的MRO(工业用品采购服务平台)带入更广泛的投资者视野中。

MRO市场为何得到青睐?
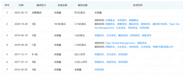
自2016年开启融资以来,震坤行共计获得7轮融资,融资总规模超过9亿美元,背后投资方不乏钟鼎资本、经纬创投、君联资本、腾讯投资、云锋基金、老虎环球基金、加拿大养老基金CPPIB等国内外知名投资机构。

其中,经纬创投与钟鼎资本更是自B轮起连续押注五轮。这些投资机构敢于大规模持续押注,首先便是源于对国内B2B供应链领域中MRO赛道前景的看好。
经纬创投认为,MRO工业品是非常有机会诞生大公司的品类——市场天花板高、产品相对标准化、流通环节毛利空间厚、一站式需求强烈等,并且在海外成熟市场已有先例,诞生过相应的龙头企业。
身处产业互联网领域,震坤行所在的赛道较少为大众所熟知。所谓MRO(Maintenance维护、Repair维修、 Operation运行),最早起源于美国,即指在企业生产过程中不直接构成产品,只用于维护、维修及运行用途的非生产性物料,是制造业企业在日常经营活动中非常重要的供应链环节。
CIC数据显示,中国已经成为世界上第二产业产值最大的国家。2022年中国第二产业总产值达到48.3万亿元,约占全球第二产业总产值的28.2%,并且在此后五年预计将以5.7%的复合年增长率增长。庞大的制造业市场,缔造了对于MRO的需求,并随着前者的增长而不断增长。

2016年至2022年,国内的MRO市场规模从20747亿元人民币增长至30041亿元人民币,预计到2027年将达到39766亿元人民币,2022年至2027年的年均复合增长率将达到5.8%。但从市场渗透率的角度来看,根据中金研报,2022年国内头部MRO企业渗透率不足0.5%。
早前,国内资本市场对互联网的关注大多集中于to C端的消费互联网领域,to B端的工业互联网领域常年隐匿于水下。随着近几年消费互联网领域流量增长趋势放缓,市场从增量市场向存量市场转换,工业互联网的潜力被慢慢发掘。
MRO领域素来有链条冗长分散,供需错配的痛点,通过互联网的优势整合上下游、打通链条,则能够降本增效。在制造业数字化的大背景下,以震坤行为代表的工业超市得以快速崛起。

增长与质疑
就震坤行招股书中所公布的业绩而言,近年来公司的业绩保持着较高的增速水平。2020年至2022年,震坤行的营收分别为46.86亿元、76.55亿元、83.15亿元人民币,年均复合增长率达到33.2%。今年前三季度,公司的营收则达到62.77亿元人民币。
震坤行营收的增长主要与公司的扩张有关。2020年至2022年,震坤行的客户数量从3万多家增长至5.8万多家,截至今年Q3,这一数据已经增长至6.4万家。震坤行的GMV也相应水涨船高。2020年至2022年,震坤行的GMV分别达到50亿元、86亿元和94亿元,年均复合增长率为37.3%。
规模效应的形成也逐渐带来盈利能力的提升。2020年至2022年,震坤行的毛利率分别为14.5%、13.6%以及15.8%。截至今年Q3,震坤行的毛利率已经达到16.5%。亏损幅度也有所收窄,2020年至2022年,震坤行经调整净亏损分别为3.971亿元、10.941亿元、7.311亿元。今年Q3,公司的这一数据则降至3.251亿元。
市场此前对于工业品B2B领域的质疑声其实并不少。因为这一领域的重资产模式,前期需要大量的资金投入,进行供应链仓储物流体系、数字化软硬件搭建等,搭建完成之后的运营维护同样是一笔不小的开支。这也是为何震坤行投融资额度巨大,且至今仍处于亏损状态的重要原因。
然而,对于震坤行而言,这些基础设施的搭建却必不可少。如同多年前的京东自建仓储物流,震坤行也需要这些基础设施形成自己的竞争壁垒。唯一能够提升震坤行盈利能力的方式,便是通过规模化,实现边际成本的递减。
不断扩张的同时降本增效,正成为震坤行当下的主要目标。这也意味着这家MRO工业超市有更大的融资需求。
据此,震坤行此番IPO募集所得资金净额的约30%将用于进一步扩大业务,尤其是继续发展行家精选产品线;约30%用于加强供应链能力和进一步提高履约效率;约30%用于潜在战略投资和收购;剩下部分则用于一般公司用途,包括营运资金需求、投资研发以继续建设基础设施和改善数字服务,以及拓展海外市场。
由此看来,上市融资后,震坤行的视野也将不局限于国内。据悉,震坤行已经有在美国布局独立站的计划。在MRO工业品更加成熟的海外市场,面对强劲的竞争对手、陌生的市场环境以及来自供应链的挑战,震坤行是否能够继续高速扩张态势,依然是个未知数。
节点财经声明:文章内容仅供参考,文章中的信息或所表述的意见不构成任何投资建议,节点财经不对因使用本文章所采取的任何行动承担任何责任。
申请创业报道,分享创业好点子。点击此处,共同探讨创业新机遇!
本文素材来自互联网
域名频道资讯站